Описание измельчителя древесины и бревен, сфера применения

При работе с деревом всегда появляются отходы. Дробилки – это агрегаты, превращающие крупные фрагменты древесины в мелкую смесь. Применение машин позволяет повысить производительность труда, уменьшить травмы рабочих.
Справка! Автоматизация переработки сырья лесной промышленностью сократило количество утилизационных отходов на 50%.
Измельчитель деревьев применяют на производстве и садовых участках. Он бывает нескольких типов:
- роторный;
- молотковый;
- дисковый и конусный;
- шнековый и валковый;
- мельница шарового типа.
Установки могут быть мобильными или стационарными. Переработка большого количества отходов производится мощными дробилками. Подсобные хозяйства вполне справятся мобильными агрегатами с небольшой мощностью.
Оборудование поможет перемолоть древесные отходы после обрезки веток, остатки стройматериалов, старую мебель. Измельченное сырье применяют для мульчирования или удобрения грядок.
Использовать для почвы можно экологически чистые виды древесины. Отходы мебели содержат вредные компоненты. Их нельзя применять для удобрения растений.
Садовый измельчитель своими руками: выбор конструкции
Самодельный измельчитель веток состоит из следующих основных элементов:
- мотор (электрический, бензиновый);
- рабочий вал с режущим элементом;
- опорная рама;
- защитный кожух;
- приемный короб;
- бункер для измельченных растительных отходов.
Веткоизмельчитель работает по следующему принципу: в приемный вал подаются растительные отходы в виде травы и веток, их перемалывают ножи, закрепленные на рабочем валу. Двигатель может располагаться непосредственно на валу либо подсоединяться к нему ременной передачей.

Планируя изготовить веткоруб, важно правильно подобрать мотор. Самодельная дробилка, оснащенная бензиновым двигателем мощностью 5-6 л
с., справится с ветками любой толщины.
Электрический мотор подбирается по мощности в зависимости от задач:
- мотором до 1,5 кВт можно оснастить измельчитель для травы и тоненьких веток;
- двигатель 3-4 кВт подходит для оснащения щеподробилки, веткоруб, оборудованный таким мотором, сможет перемалывать ветки диаметром до 4 см;
- электромотор мощностью свыше 6 кВт даст возможность изготовить производительный щепорез своими руками, использовать веткоруб для переработки веток диаметром до 15 см.
Предназначение установки влияет и на выбор режущей части конструкции:
- Измельчитель тонких веток и травы оснащается ножами, надетыми на вал крест-накрест, выполненными из заточенных пластин из твердосплавного материала;
- Веткодробилка фрезерного типа оснащается фрезой с крупными зубцами, она справится с ветками толщиной до 3 см, но древесина должна быть сухой. Такой веткоруб требует небольшой мощности мотора и высокого крутящего момента, поэтому в конструкции необходимо предусмотреть понижающий редуктор.
- Веткоруб для веток различной толщины и тонких стволов комплектуется дисковым ножом – в диске из стали толщиной от 6 мм делаются прорези, и на одном краю каждого выреза крепится прочное заточенное лезвие.
- Измельчитель древесины, позволяющий дробить ветки и отходы деревообработки в мелкую труху, изготавливается на основе пакета дисковых пил по дереву к с крупными зубцами из твердосплавного материала.
Как сделать дробилку самому? Прежде всего, следует определиться, какая дробилка вам требуется: для веток или для щепы. Исходя из этого, выбирается конструкция и мощность мотора.
Подробные чертежи можно найти на специализированных интернет-ресурсах – садовый измельчитель своими руками изготавливают многие, желающие сэкономить на покупке полезного, но дорогостоящего оборудования. Ниже предлагаем один из наиболее популярных вариантов чертежей.

Дробилка для щепы из дисковых пил: принцип изготовления
Этот станок отличается простой конструкцией, такая дробилка своими руками монтируется быстро и не требует больших финансовых вложений. Работа по сборке выполняется с использованием болгарки, гаечных ключей, сварочного аппарата.
Материалы:
- электрический (от 4 кВт) или бензиновый (5-6 л.с.) двигатель;
- не менее 15 дисковых пил диаметром от 18 см (от количества пил зависит ширина рабочей части);
- шпилька М20 либо аналогичная;
- подшипники (2 шт) и крепления к ним;
- шкивы (2 шт);
- шайбы (на 2 больше, чем количество пил) из металла толщиной 5 мм;
- металлопрофиль для монтажа опорной рамы;
- листовой металл (2 мм толщиной) чтобы изготовить защитный кожух и приемный бункер.

Дробилка для веток монтируется следующим образом:
- Из прямоугольных профильных труб сваривается рама;
- На резьбовую шпильку надеваются пилы попеременно с шайбами, чтобы зубчики во время работы не сцеплялись друг с другом.
- С обеих сторон пакета пил вплотную к крайним шайбам навинчивается по гайке;
- К внутренним поперечинам рамы требуется приварить крепления для установки подшипников;
- Подшипники закрепляют на шпильке по разным сторонам от пакета пил, затем вся конструкция монтируется на раму;
- На длинный конец вала устанавливается шестеренка или шкив, для фиксации используется стопорное кольцо;
- На раму крепится двигатель, соединяется со шкивом на шпильке ремнем или приводной цепью:
- Монтируется защитный кожух, крепится приемный бункер в виде раструба. Длина бункера должна обеспечивать защиту от случайного контакта рук с рабочей частью установки.

Сделанный собственными силами измельчитель для веток садовый позволит оперативно избавляться от древесного мусора, превращая его в сырье для компоста или топливо. Такое устройство для дробления древесины своими руками необходимо чистить после использования, убирая щепки, застрявшие между пилами.
Самодельные измельчители – экономически эффективное решение проблемы утилизации растительного мусора на садовом участке.
Видео-инструкция поможет подробно ознакомиться, как сделать измельчитель веток.
Как работает инструмент
Все измельчители (или измельчители) предназначены для резки ветвей, травы, листьев, овощей, бумаги. Для работы такого агрегата вам нужен мотор, ножи, основание, на котором все это держится, какая-то область, отверстие для кормления травы и ветвей, контейнер или просто отверстие, где уже измельчено сырье для компоста.
Шредеры работают на электрических или бензиновых двигателях. Устройство на бензине, более мощный двигатель, может обрабатывать даже ветви толщиной 5 см, работать дольше, больше, его можно передвигать по площадке (это может быть тяжело), это не зависит от электрической розетки. Но его нужно позаботиться, его нужно заполнить, кроме того, он создает шум и загрязняет воздух.
Электродвигатель считается экологически чистым, он не портит воздух, он делает меньше шума, намного легче, чем бензин, но несколько менее мощный. Измельчитель на электрической тяге не будет обрезать ветвь толщиной 4 см, она обречена на работу неподвижно возле выхода и страдает от скачков напряжения. Но летние жители обычно предпочитают это. Его мощности вполне достаточно для работы на небольшом участке, если это не огромный сад в несколько гектаров.
Фактически, режущая часть имеет разную сложность. Самая простая версия. нож с тремя лезвиями, более сложный. измельчитель со всей системой разных ножей и, возможно, мощное оборудование, в котором установлен механизм с винтами или даже турбиной. Каждый владелец может решить, насколько мощным инструментом он должен сократить ветки, травы и листья на сайте.
Если сравнивать с другими бытовыми приборами, то некоторые измельчители действуют как мясорубка. они рисуют и измельчают травы и веточки, бросают полученный продукт в блюдо или просто на пол, а другие разрезают на контейнеры, такие как кофемолки.
В весенний и осенний период на приусадебных участках появляется много мусора от деревьев, а также высохших растений. В основном садоводы используют переросшую ботву в качестве удобрений, при этом необходимо, чтобы остатки травы и веток перегнили. Для ускорения процесса разложения необходимо измельчить остатки, в связи с этим применяется измельчитель для веток. Данное приспособление поможет легко и безопасно справиться с поставленной задачей.
Разновидности используемых двигателей
В изготовленных своими руками электрических садовых измельчителях веток используются электрические двигатели, снятые со старой техники. От показателя мощности мотора будет напрямую зависеть производительность выполненного шредера, а также возможность работы с толстыми ветками и твердыми отходами.
Биовит: состав витамина, инструкция по применению
Измельчители с мощностью двигателя в 1,5 кВт отличаются низкой производительностью и способны перемалывать ветки диаметром не более 20 мм. Аппараты, мощность привода которых составляет 3−4 кВт, станут отличным выбором для приусадебного участка, с легкостью справляясь как с утилизацией травы, так и перемалыванием веток толщиной в 40 мм.
Использовать более мощные двигатели для изготовления самодельных шредеров не рекомендуется, так как такая техника будет иметь сложную конструкцию, а работать на высокой скорости вращения измельчительного механизма зачастую проблематично. Для выполнения самодельного шредера можно использовать электромотор от триммера, стиральной машинки или болгарки.
Инструкция по сборке двухвалкового шредера
Работы начинаются с создания рамы. Для этого с помощью угловой шлифмашинки из профильной трубы нарезаются две заготовки длиной 80 см и четыре детали длиной 40 см. Далее между двумя длинными заготовками под прямым углом сваривают короткие отрезки. Две внутренние детали должны размещаться на таком расстоянии относительно друг от друга, чтобы обеспечить надежную установку измельчительного барабана.

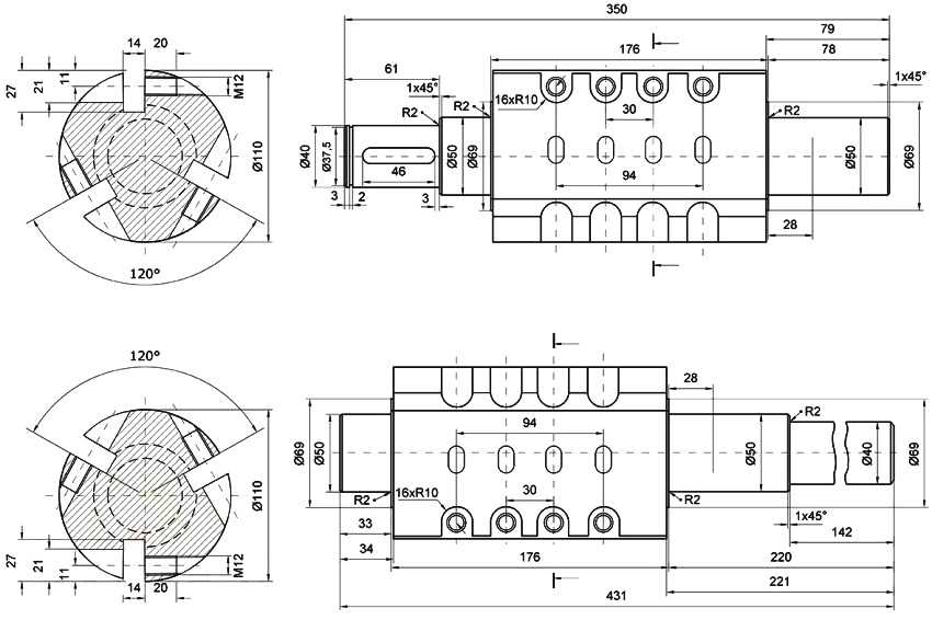
Чертеж для сборки валов двухвалкового измельчителя
Следующим этапом является создание валов для измельчительного барабана. Если планируется установить на один вал четыре ножа, то тогда используем квадратную металлическую заготовку. Делаем оба ее конца круглой формы, чтобы они смогли войти в подшипники. Для трех ножей понадобится круглая заготовка, в которой оттачивается центральная часть. В ней делается три плоских среза для последующей установки ножей.
Для создания ножей можно взять небольшой отрезок листа рессоры Камаза. В ножах делаются отверстия для болтов. Затем следует выполнить заточку ножей на точильном станке, где выбирается угол режущей кромки со значением 35-45 градусов. Далее заточенные ножи прикладываются к валу и помечаются места их крепления, в которых создаются отверстия, и нарезается резьба.
Далее приступаем к созданию измельчительного механизма. В двух металлических стенках с помощью сварочного аппарата делаются круглые отверстия для установки подшипников. С помощью специальных накладок и болтов устанавливаем подшипники внутрь металлических стенок. В подшипники вставляем валы, надежно закрепляя их. Они должны располагаться на достаточном расстоянии, чтобы исключить возможность их соприкосновения. Далее соединяются стенки барабана с помощью металлических шпилек с резьбой и гаек.

Чертеж расположения валов на раме двухвалкового шредера
Теперь приступаем к созданию приемного бункера. Для этого из тонкого листового металла вырезается четыре параллелепипеда. Далее каждый край загибается на 4 см. Короткий участок в одну сторону, длинный – в противоположную. С помощью самозатягивающихся заклепок или сварки соединяем все детали. На отогнутых краях у основания короба делаются отверстия для крепежа.
Теперь на валы надеваются шестеренки, для синхронизации движения, и вся конструкция устанавливается на раму и закрепляется при помощи болтов. Затем устанавливается двигатель, который соединяется с валом ременной передачей или цепью. Двигатель лучше брать большой мощности, но с малым числом оборотов. В конце устанавливается и закрепляется приемный бункер. Затем на все вращающиеся части шредера надевается защитный кожух во избежание попадания в измельчитель посторонних предметов.
Главными преимуществами такого агрегата является высокая мощность и техническая способность измельчить толстые ветки в диаметре от 20 до 80 мм. Это будет зависеть от количества ножей и числа оборотов. На многочисленных сайтах в сети интернет представлены подробные рекомендации, как сделать измельчитель веток своими руками. Видео примеры более наглядно отображают весь процесс сборки и монтажа самодельного устройства.

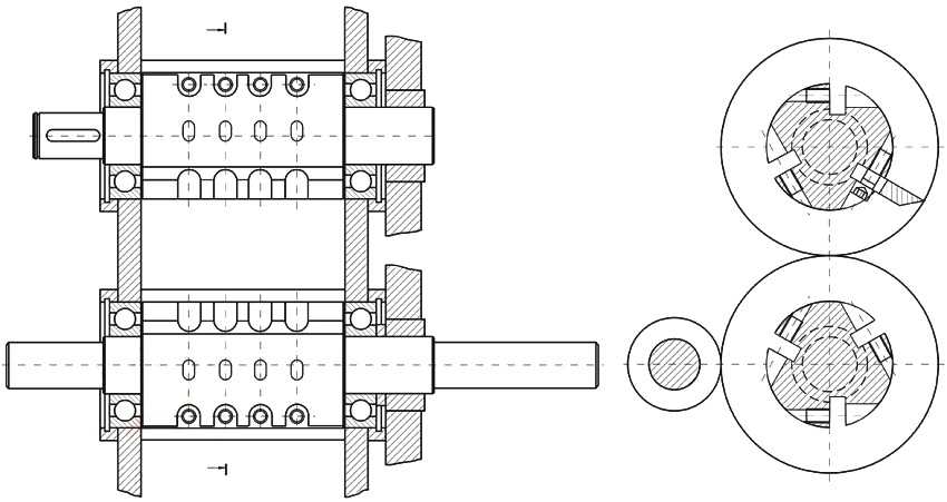
Двухвалковый измельчитель, сделанный своими руками
Основные узлы измельчителя
Конструкция измельчителя состоит из нескольких элементов:
- Измельчительный механизм;
- Бункер;
- Привод;
- Рама с кожухом (корпусом).
Некоторые образцы измельчителей имеют дополнительные узлы:
- Механизм для продвижения материала;
- Сито для первичной сортировки измельчённой массы;
- Приёмный бункер для измельчённого мусора.
Основными элементами конструкции являются измельчительный механизм и привод. Именно они выполняют поставленную задачу, а остальные узлы служат для повышения эффективности или выполняют дополнительные функции. Задача, выполняемая приводом, проста и однообразна — он обеспечивает вращение рабочего вала. Функции, которые осуществляет измельчитель, несколько сложнее и зависят от его конструкции. Рассмотрим их внимательнее:
Измельчительный механизм
Этот узел производит разрушение зелёной массы при помощи режущего инструмента, установленного на вращающемся валу. Существует несколько заводских вариантов конструкции измельчительных механизмов:
-
Ножевой дисковый. Напоминает принцип действия овощерезки в кухонном комбайне. Ножи установлены на плоском диске по направлению от центра к краям диска, подача измельчаемого материала производится под углом около 30° к поверхности. Предназначен для переработки относительно тонких веток и стеблей диаметром до 2 см.
-
Фрезерная конструкция. Режущий орган представляет собой ножевой вал от электрорубанка, набор фрез или дисковых пил, установленных на общем валу и разделённых шайбами. Существует ещё одна разновидность конструкции подобного типа, состоящая из двух одинаковых ножевых валов, вращающихся синхронно. Валы настраиваются таким образом, чтобы ножи встречались в одной точке на фронтальной поверхности вращения, что способствует проталкиванию материала внутрь установки. Конструкция способна обрабатывать материал до 8 см в диаметре, но работать с сырыми ветками или стволами деревьев не рекомендуется, так как щепа от них эластична и быстро забивает проходы шредера.
-
Фрезерно-турбинная ножевая конструкция. Представляет собой некое подобие ножевого вала, но имеющее конусообразную форму. Ножи крепятся на двух обручах, расположенных по краям режущей поверхности, что облегчает изготовление рабочего органа и снижает расход металла. Установка способна работать с сухим или сырым материалом, разного размера или твёрдости — в зависимости от размера режущего органа.
Для самостоятельного изготовления наиболее удобны:
- Двухвалковые конструкции, состоящие из рабочих вальцов фуганочного типа с 4 ножами каждый.
- Дисковая конструкция.
- Пакет из дисковых пил (как вариант, из фрез по дереву, установленных тем же способом — на общем валу).
Выбор того или иного варианта производится исходя из собственных возможностей и предпочтений. Кроме того, большую роль играет оснащённость оборудованием, станками, позволяющими изготовить и собрать определённый вариант режущего органа. Если собственных станков не имеется, необходимые детали следует заказать у токаря, что обойдётся в некоторую сумму денег, но результат будет вполне профессионально выполнен.
Тип и мощность двигателя
Для вращения рабочего вала используются электрические или бензиновые (дизельные) двигатели. Выбор привода обусловлен его наличием, степенью мощности, возможностями участка. Для работы электродвигателя надо иметь подключение к сети (а если двигатель трёхфазный, то ситуация несколько усложняется), тогда как бензиновые моторы способны действовать более автономно. Имеется ещё одно преимущество бензиновых двигателей — они позволяют регулировать скорость вращения рабочего вала путём изменения подачи горючего, тогда как электрические устройства работают в единственном скоростном режиме. Кроме того, мощность бензиновых устройств обычно намного выше, хотя существуют и электродвигатели с высокой мощностью. Для создания универсальной установки, способной работать с материалом разного размера и прочности, рекомендуется использовать мотор, способный развивать мощность около 4 кВт. Эта величина определена опытным путём и делает возможной переработку в домашних условиях практически любого типа материала.
Садовый измельчитель своими руками: основные элементы конструкции
Садовый измельчитель, он же шредер или чиппер, существенно облегчает процесс ухода за дачным участком. С его помощью можно легко очистить территорию от веток и травы. Переработанное сырье можно заложить в компостную яму для получения натурального удобрения. Полученную мелкую древесину целесообразно использовать в качестве дров для отопления домика. Измельченная щепа от фруктовых деревьев идеально подходит для копчения мяса.

Шредер для травы и веток поможет справиться с растительным мусором на участке
Конструкция садового шредера достаточно проста. Она состоит из таких основных деталей:
- бункера;
- привода;
- измельчительного механизма;
- металлической рамы с защитным кожухом.
Некоторые модели могут быть оборудованы дополнительными элементами:
- бункером для измельченного органического мусора;
- проталкивателем;
- ситом для регулирования фракции щепы.
Принцип работы любого измельчителя такой же, как у мясорубки и заключается в следующем. При включении шредера в работу начинает запускаться двигатель, который приводит в действие рабочий вал, оснащенный режущим механизмом. В это время садовый мусор попадает в приемную воронку и с помощью режущего устройства измельчается до состояния мелкой щепы.

Щепа из измельченных веток может использоваться в качестве компоста для растений
Измельчительный механизм
Перед тем как приступить к созданию самодельного шредера, необходимо четко определиться с видом отходов, которые он будет перерабатывать. Это напрямую зависит от его конструктивных особенностей и рабочих характеристик. Садовые измельчители классифицируются по трем основным параметрам: типу и мощности двигателя и виду измельчительного механизма.
Существуют следующие варианты измельчительного механизма:
- фрезерный, для переработки твердой древесины;
- ножевой универсальный;
- валковый, для перемалывания тонких веток деревьев и кустарников;
- с вращающимися турбинами для измельчения толстых веток;
- молотковый, для утилизации тонких веток;
- триммерный, основанный на использовании лески, для мягкого мусора.
При самостоятельной сборке измельчителя отдается предпочтение ножевой системе или наборной из дисковых пил. Можно выполнить двухвалковую конструкцию, при которой два-три ножа устанавливаются на массивном диске и вращаются друг другу навстречу.

Различные типы измельчительного механизма: 1 — молотковый, 2 — фрезерный, 3 — ножевой фрезерно-турбинный, 4 — ножевой дисковый
Тип и мощность двигателя
Шредер может быть оснащен электрическим или бензиновым двигателем. У каждого из них есть свои важные достоинства и некоторые недостатки. Измельчитель садовый, работающий на бензине, более мобильный. Его работа не зависит от источника электропитания. Он способен перерабатывать более толстые крупные ветки. Однако такие чипперы более громоздкие и тяжелые. К тому же они выделяют в атмосферу вредные вещества в процессе своей деятельности.
Измельчители с электродвигателем более легкие и удобные в эксплуатации. Однако они уступают по показателю мощности и зависят от энергоресурса.
Возможность перерабатывать определенный вид садового мусора зависит от мощности двигателя. Для маленьких объемов отходов, где диаметр веток не превышает 20 мм, достаточно двигателя мощностью 1,5 кВт. Если необходимо перемалывать ветки толщиной 20-40 мм, то тогда целесообразно использовать двигатель мощностью не менее 3,5-4 кВт. Справиться с крупной древесиной 100-150 мм в диаметре смогут измельчители, оснащенные двигателем мощностью 6 кВт.

Шредер с высокой производительностью способен перемалывать ветки диаметром до 100 мм
Следующей особенностью конструкции шредеров является тип привода. Эту функцию может выполнять цепь, ремень или сам вал двигателя, на котором осуществляется фиксация ножевого механизма.
Оборудование с дисковыми пилами
Чтобы сделать дробилку древесины такого типа, потребуется чертеж и заранее продунная конструкция. Схемы можно найти в интернете, но при определенных навыках и знаниях можно начертить чертежи измельчителя веток своими руками. Для того чтобы сделать стандартный дисковый веткоруб, потребуется:
- электрический двигатель до 2 кВт;
- ось для закрепления дисков, диаметр должен совпадать с посадкой дисков или фрезы;
- металлическая фреза или дисковые пилы (10 штук);
- шайбы для установки между дисками;
- шкив на ось, на двигатель и ремни;
- станина для закрепления всего оборудования;
- стальные листы около 5 и 2 мм толщиной для корпуса;
- инструменты и крепежные материалы.
https://youtube.com/watch?v=-HzDATzFZf8
Подготовленные материалы должны быть качественными, так как работа такой техники происходит под большими нагрузками, которые могут повредить измельчитель древесины. Своими руками сборка веткореза проводится следующим образом:
- На заранее подготовленный вал насаживаются диски, между ними располагаются шайбы. Толщина шайб не должна превышать 1 сантиметр, меньше тоже не рекомендуется. Диски должны плотно закрепляться на оси, для этого можно использовать сварку.
- Из швеллеров изготавливается станину, на которой будет крепиться вал и электродвигатель.
- Расположение двигателя и вала по отношению друг к другу должны быть параллельным. Полностью нужно исключить перекосы или смещения, так как это может привести к обрыву ремня и потери КПД.
- Изготавливается рабочий корпус. Он должен быть прочным, так как куски веток будут разлетаться с огромной силой. Опорные детали должны быть изготовлены из толстой стали 5 мм.
- Изготавливается раструб для подачи веток, его длина должна быть около метра. Это приспособление будет гарантировать безопасность и правильную подачу веток в бункер.
Как сделать садовый измельчитель веток
Процесс создания шредера проходит поэтапно и состоит из следующих шагов:
- Выбор типа рабочего органа, создание рабочего чертежа.
- Заказ деталей у специалистов. Если имеется возможность производства станочных работ, этот пункт автоматически отменяется.
- Сбор необходимых материалов и инструментов.
- Изготовление деталей, сборка и испытания устройства.
Создание рабочего чертежа необходимо для более детального представления о размерах, способах соединения и прочих параметрах узлов и элементов конструкции. Тем более, что некоторые детали придётся заказывать у токаря, что в любом случае потребует наличия грамотно выполненного чертежа.
Первым действием становится выбор типа режущего органа. Он обусловлен возможностями владельца, характером предстоящих действий, составом и параметрами материала, объёмами и длительностью работы. Необходимо учитывать сложность замены, настройки и заточки режущего инструмента, его долговечность, способность измельчения разных видов зелёной массы. Кроме того, надо иметь возможность заказать или изготовить самостоятельно тот или иной вид рабочего узла. Наиболее эффективной считается конструкция с двумя ножевыми валами. Но для её изготовление понадобится два абсолютно одинаковых вала, соединённые между собой зубчатой передачей, обеспечивающей синхронность вращения.

Узел сложен не только в изготовлении, но и в настройке ножей.

Их надо периодически затачивать, устанавливать на вал, что представляет собой достаточно сложную задачу.
Более простым вариантом конструкции является плоский ножевой диск.

Основным преимуществом этого варианта является возможность обойтись без изготовления приводного вала, установив диск прямо на вал электродвигателя. Диск не требует для посадки много места, поэтому потребуется лишь изготовление диска и защитного кожуха с направляющим экраном для организации выброса щепы.
Режущий орган, представляющий собой набор из дисковых пил или плоских фрез по дереву, довольно просто изготовить из приводного вала для циркулярной пилы.

Можно просто переделать имеющуюся циркулярку с валом на 32 мм, который подойдёт для установки пильных дисков среднего размера. Как вариант, могут быть использованы плоские фрезы по дереву, посадочный диаметр которых также составляет 32 мм. В данном случае понадобится только установить защитный кожух и направляющее устройство для компактного выброса щепы.
Самостоятельное изготовление измельчителя — мероприятие, требующее наличия определённых инструментов и материалов. Понадобятся:
- Листовой металл для изготовления кожуха, бункера, защитных экранов.
- Стальной уголок или швеллер для создания рамы шредера.
- Крепёжные элементы — болты с гайками, необходимые для соединения элементов защиты, установки рабочего органа и т.п.
- Сварочный аппарат с электродами.
- Электродрель с набором свёрл.
- Болгарка, ножовка по металлу.
- Линейка, рулетка, чертилка для разметки.
- Кернер, молоток.
- Набор гаечных ключей, отвёртка, пассатижи.
- Банка краски, кисть.
Приведённый перечень не является исчерпывающим, в зависимости от замысла конструктора могут пригодиться и другие материалы или инструменты.
Порядок изготовления шредера:
- Из уголка или швеллера собирается станина.
- На станину устанавливается режущий орган.
- Прикрепляется площадка для крепления электродвигателя с натяжным устройством. Если планируется использовать бензиновый двигатель, крепление производится исходя из его конструкции.
- Устанавливаются шкивы, натягивается приводной ремень.
- Собирается и фиксируется на раме защитный кожух.
- Направляющее устройство для выброса измельчённого материала рекомендуется не крепить сразу окончательно, а проверить установку в действии. Иногда получается так, что щепа отлетает слишком далеко, что неудобно для владельца и сильно загрязняет участок. Опытным путем отражатель устанавливается в оптимальном положении, после чего прикрепляется окончательно.
- Собранное и опробованное в работе устройство окрашивается для придания аккуратности и нарядного внешнего вида.
Нередко оказывается, что в рабочие чертежи вкралась ошибка, ухудшающая работоспособность установки. Обычно дело касается формы корпуса, способствующей застреванию щепы в узких местах или неправильной форме отражателя. Следствием этого становится чрезмерная дальность или разброс выброса, или наоборот, накапливание измельчённого материала на выходе из-за препятствий, вызванных неправильной конфигурацией отражателя. Рекомендуется не собирать его окончательно сразу, а сначала произвести пробный запуск установки и устранить обнаруженные недостатки.
Самодельный электрический измельчитель
Измельчитель своими руками можно изготовить при наличии необходимых элементов. Самым практичным считают веткодробилку состоящую из двух валов. Для изготовления создается чертеж, согласно которому производится сборка.
Первоначально подбирается необходимый материал и инструмент:
- электродвигатель номинальной мощностью до 4 кВт
- пару стальных пластин толщиной до 10 мм
- две шестерни из высокопрочной стали
- пару шкивов
- валы, закаленные и обработанные
- подшипники для надежного крепления валов
- непосредственно режущие лезвия из стали
- металлический корпус
- стальная труба необходимого диаметра
- набор гаечных ключей
- аппарат для сварки
- мощная дрель, либо перфоратор
Из квадратной заготовки вытачиваем валы с двух сторон. В центре сверлим отверстия для 4 ножей, в них нарезается резьба. Закругленные края вставляют в подшипники. Изготавливается барабан из 4 шпилек, и двух стальных пластин в которых прорезаются отверстия под подшипники.
Прочно закрепляют подшипники и шкивы на валу, с противоположной стороны устанавливают шестерни. На заранее подготовленную раму устанавливаем корпус с режущим механизмом и двигатель. Передача крутящего момента от привода будет производиться при помощи ремней через шкивы на валах двигателя и ножей.
Корпус приемника делают из листового металла, вырезанного в форме 4 трапеций. При помощи сварочного аппарата их скрепляют между собой в виде усеченной пирамиды. Короб соединяют с корпусом режущего механизма при помощи болтового соединения.
Садовый измельчитель из стиральной машины
Для сборки измельчителя веток своими руками необходимо провести следующие манипуляции:
- Из стиральной машины старого типа удаляется активатор.
- Заранее изготовленный нож устанавливают непосредственно на вал двигателя.
- Размер рабочего инструмента делают немного меньше диаметра барабана.
- В нижней части корпуса прорезается отверстие из которого будет высыпаться щепа.
- К отверстию присоединяется корпус.
Самодельный измельчитель из болгарки

Изготовление веткоизмельчителя своими руками из болгарки разделяют на несколько этапов:
- Берем бутыль 20 л, отрезаем нижнюю часть, а в верхней увеличиваем отверстие. Это будет приемник.
- С боку пропускаем ось устройства.
- Сверху на вал устанавливаем режущий элемент и надежно закрепляем всю конструкцию.
Дробилка из триммера
Для измельчителя веток изготовленного своими руками из садового триммера необходимо подготовить следующие необходимые элементы:
- емкость из пластика или металла объемом до 50 л
- несколько труб из металла диаметром до 20 мм
- стальную сеть площадью около 1 кв.м с мелкой ячейкой
- обрезок деревянной доски, либо фанеры
- необходимо приобрести металлические хомуты для креплений
- деревянные бруски и саморезы для их стяжки
- непосредственно сам триммер любой конструкции
В качестве вспомогательного инструмента рекомендуется подготовить:
- шуруповерт
- наковальня
- дрель
- электролобзик
- слесарный молоток
Для того, чтобы изготовить измельчитель необходимо следовать пошаговой инструкции:
- Первоначально подготавливают емкость веткоруба. Для этого на дне просверливают и вырезают отверстия в виде трапеций. Края обрабатываются.
- На дне закрепляется сетка при помощи брусков. Тем самым делается мембрана.
- Емкость располагают на небольшой высоте при помощи конструкции из труб.
- Двигатель триммера крепят на доске.
- Штангу устройства немного укорачивают и устанавливают также на основании с приводом.
- На торце штанги ставят режущий инструмент.
- Перед производством непосредственной работы необходимо провести испытания. Для измельчения веток различной толщины можно применять разные насадки.
Основные узлы садового измельчителя
Чтобы самостоятельно собрать измельчитель травы и веток (шредер) в домашних условиях, требуется предварительно разобраться с устройством механизма, деталей (смотрите тут), а также принципом его работы. Это поможет правильно собрать оборудование и, при необходимости, вносить в его конструкцию изменения.
Самодельный агрегат, предназначенный для измельчения скошенной травы и спиленных веток толщиной до нескольких сантиметров, имеет следующие основные конструктивные узлы:
• двигатель;
• ножи, установленные на рабочем валу;
• раму (обычно металлическую);
• защитный кожух;
• короб, предназначенный для приема срезанной растительности;
• пусковую систему.

Саму технику можно сделать в стационарном либо передвижном виде. Для создания последнего варианта дополнительно потребуются колеса, а также ручка. Чтобы сделать раму, используют металлические уголки либо готовые каркасы от верстаков. Короба под переработанную растительность изготавливают из пластиковых ведер, жести, мешков. Защитный кожух вокруг ножей должен быть достаточно толстым и прочным, чтобы быстро не износиться от воздействия перемалываемой растительности.
При переработке растительного мусора из отверстия, через которое он подается, могут вылетать измельченные куски. Поэтому горловину накрывают крышкой либо просто тканью, например, мешком.
Работа измельчителя заключается в том, что вращение от вала двигателя передается напрямую ножам либо через цепную/ременную передачу. Изрубленная лезвиями растительность поступает в короб. При этом конечный продукт сразу готов к использованию.
По принципу действия одни самодельные шредеры сопоставимы с мясорубкой (втягивают, а затем перемалывают органику), а другие с кофемолкой.

Разновидности двигателей для сборки самоделок
В качестве привода для самоделок используют электрические и бензиновые двигатели, снятые с неиспользуемой техники. Каждый их этих двух вариантов имеет свои достоинства с недостатками. Модели с двигателем внутреннего сгорания удобнее тем, что при их эксплуатации не нужно наличие питающей электросети поблизости. Но в целом они обходятся дороже и имеют более сложное устройство, чем их аналоги, оснащенные электромотором. Поэтому легче сделать электрическую технику, вдобавок более компактную.
Максимальная толщина срезанных сучьев, которые способен перемолоть измельчитель веток, зависит от мощности установленного на него электродвигателя и характеристик ножей.
• Модели с мотором до 1,5 кВт мощностью способны перемалывать палки до 20 мм диаметром. Они предназначены для работ с низкой степенью интенсивности.
• Если установлен электрический двигатель от 3 до 4 кВт, то такие агрегаты могут измельчить ветки уже толщиной до 40 мм.
• Более мощные электромоторы (свыше 4 кВт) используются, чтобы сделать шредер для дерева диаметром 7-15 см.
Приводом последней категории оснащают технику, если нужно постоянно выполнять большие объемы работ, связанные с переработкой отходов различной толщины.
Для создания самодельного шредера можно воспользоваться электромоторами от болгарки, стиральной машинки, триммера. Они должны быть приспособлены к работе от стационарной сети напряжением 220 В. Чтобы в домашних условиях измельчать материал максимально большей толщины, рекомендуется оснащать шредер электромотором на 1500 об/мин мощностью около 3,5 кВт. Данному параметру у двигателей внутреннего сгорания соответствует 5-6 лошадиных сил.

Двигатель от старой стиральной машины





































